Instrukcje układania
Instrukcje układania
Proszę wybrać jedno lub kilka rozdziałów do pobrania.
Spis treści

Pas startowy do dachówki klasycznej

Montaż pasa startowego

Pas startowy powinien wystawać poza okap o maks. 80 mm i kończyć się na wysokości jednej trzeciej szerokości rynny, patrząc od strony budynku.
Od planowanej krawędzi górnej pierwszej dachówki klasycznej odmierz 450 mm w kierunku okapu (pamiętaj, że pas powinien wystawać poza okap o 30–80 mm). Od dołu, na wysokości 150 mm (szerokość pasa startowego) zaznacz punkt wyznaczający górną krawędź pasa startowego.

Powtórz te kroki po drugiej stronie okapu, a następnie połącz oba punkty poziomą linią, odbijając sznurek traserski.

Pas startowy musi zostać zamocowany tak, aby był odporny na działanie wiatru (należy wykorzystać wszystkie fabrycznie wytłoczone otwory). Do momentu wbicia dołączonych gwoździ PREFA we wszystkie przebite fabrycznie otwory pas startowy musi pozostawać zamocowany do okapu w inny sposób.

Wskazówka

Im dokładniejszy będzie montaż pasa startowego, tym łatwiej przebiegnie fachowy montaż systemu dachowego PREFA.
Pamiętaj, że pas startowy powinien zostać zamontowany pod warstwą rozdzielającą.

Pas startowy

Montaż pasa startowego

Pas startowy powinien wystawać poza okap o maks. 80 mm i kończyć się na wysokości jednej trzeciej szerokości rynny, patrząc od strony budynku.
Pas startowy należy przybić na całej długości okapu, wbijając gwoździe w linii prostej, wzdłuż odbitej wcześniej linii traserskiej.
Pas startowy musi zostać zamocowany tak, aby był odporny na działanie wiatru (należy wykorzystać wszystkie fabrycznie wytłoczone otwory).
Następnie pod kątem prostym nanosi się pionowe linie traserskie.
Do momentu wbicia dołączonych gwoździ PREFA we wszystkie przebite fabrycznie otwory pas startowy musi pozostawać zamocowany do okapu w inny sposób.

Wskazówka

Im dokładniejszy będzie montaż pasa startowego, tym łatwiej przebiegnie fachowy montaż systemu dachowego PREFA. Jako pomoc przewidziano oznaczenia (wymiar trasowania) dla poszczególnych pokryć dachowych PREFA.

Pamiętaj, że pas startowy powinien zostać zamontowany pod warstwą rozdzielającą (patrz rysunek powyżej).

Dodatkowe wytyczne dotyczące dachówki R.16 i panelu dachowego FX.12

Pas startowy z wytłoczonymi oznaczeniami do dachówki R.16 i paneli dachowych FX.12 należy wyrównać względem środka połaci.
Pamiętaj, że obszar zakończenia bocznego (np. na wykończenie deski szczytowej) nie może leżeć w obszarze rąbka dachówki R.16 lub panelu dachowego FX.12. W razie potrzeby przesuń pas startowy o jedną czwartą wymiaru dachówki R.16 lub panelu dachowego FX.12.

Dodatkowe wytyczne dotyczące dachówki romb 29 × 29 i dachówki romb 44 × 44

Pas startowy z wytłoczonymi oznaczeniami należy wyrównać względem środka połaci.
Pamiętaj, że obszar zakończenia bocznego (np. na wykończenie deski szczytowej) nie powinien leżeć w połowie dachówki romb 29 × 29 lub 44 × 44
. W razie potrzeby przesuń pas startowy o jedną czwartą wymiaru (1/4 krycia pionowego) dachówki romb 29 × 29 lub 44 × 44.

Wykończenie deski szczytowej i boczne łączenie

  • Wygnij 30 mm pokrycia dachowego PREFA w górę pod kątem prostym do połaci dachu (rys. 1).
  • Dobij górną krawędź oryginalnej wiatrownicy do górnej krawędzi deski doczołowej i przybij wiatrownicę gwoździami w sposób zapewniający wiatroodporność (rys. 2).
  • Na terenach, gdzie występują duże opady śniegu, wykończenie deski szczytowej należy wykonać zgodnie z rys. 3.
  • W przypadku wykończenia deski szczytowej z podciągniętą deską czołową należy zastosować wariant pokazany na rys. 4.

Dodatkowe wytyczne dotyczące dachówki R.16 i panelu dachowego FX.12

W obszarze zaginanej krawędzi wyprofiluj górny rąbek systemowy tak, aby nie naruszyć rąbka leżącego (rys. 1 i 2), i wygnij 30 mm dachówki R.16 lub panelu dachowego FX.12 w górę pod kątem prostym do połaci dachu.

Dodatkowe wytyczne dotyczące dachówki łupkowej

W przypadku każdego lewostronnego zagięcia dachówki łupkowej (wiatrownica i kołnierz) biegnące ukośnie do dołu rąbki muszą zostać wyprofilowane, aby zapobiec kapilarnemu podciąganiu wody.

  • Naszkicuj obszar zagięcia i 30 mm naddatku na rąbek (rys. 1).
  • Przytnij dachówkę łupkową z naddatkiem na rąbek (rys. 2).
  • Wyprofiluj rąbek (rys. 3 i 4).
  • Ułóż wyprofilowaną dachówkę łupkową i zagnij brzeg do góry (rys. 5 i 6).

Wariant ze skróconą dachówką łupkową lub dachówką łupkową długą

Inne warianty polegają na umieszczeniu ukośnych rąbków poza obszarem wywinięcia, poprzez skrócenie dachówki łupkowej lub użycie dachówki łupkowej długiej.

Wariant 1: Skrócona dachówka łupkowa
Skróć ostatnią dachówkę łupkową przed zagięciem krawędzi i ułóż na dachu (rys. 7 + 8)

Wariant 2: dachówka łupkowa długa
Ułóż dachówkę łupkową długą, dotnij z zachowaniem 30 mm naddatku na rąbek i zagnij brzeg do góry (rys. 8 i 9).

Fachowe wykonanie zapewnia szczelność dachu podczas opadów deszczu.
Po przygotowaniu dachówki łupkowej można wykonać wykończeniowe elementy z blachy (np. okładzinę szczytu lub obróbkę kosza na łączeniu dachu i ściany) i połączyć je z pokryciem.

Dodatkowe wytyczne dla dachówki DS.19

W przypadku każdego lewostronnego zagięcia dachówki DS.19 (wiatrownica i kołnierz) biegnące ukośnie do dołu rąbki muszą zostać wyprofilowane, aby zapobiec kapilarnemu podciąganiu wody.

  • Naszkicuj obszar zagięcia i 30 mm naddatku na rąbek i przetnij wzdłuż krawędzi rąbka (rys. 1).
  • Wyprofiluj rąbek (rys. 2 i 3).
  • Ułóż wyprofilowaną dachówkę DS.19 i zagnij brzegi do góry (rys. 4 i 5).

Wariant dachówki długiej DS.19

Wariant ten polega na umieszczeniu ukośnych rąbków poza obszarem wywinięcia, poprzez użycie dachówki długiej DS.19.

  • Ułożyć dachówkę długą DS.19 i zaznaczyć na górnym obrzeżu dachówki linię nachodzącego na nią skośnie rąbka (rys. 6).
  • Wokół zaznaczenia wyciąć obrzeże dachówki w kształt półksiężyca (rys. 7).
  • Ułożyć i przymocować dachówkę łupkową DS.19 (rys. 8).
  • Zagiąć brzeg pokrycia dachowego. (Rys. 9 i 10).

Wskazówka

Dachówka długa DS.19 nie jest przeznaczona do wykonywania kompletnych pokryć dachowych.
UWAGA: Skrócenie dachówki DS.19 nie jest możliwe ze względu na rowki kapilarne.

Fachowe wykonanie zapewnia szczelność dachu podczas opadów deszczu.
Po przygotowaniu dachówki DS.19 można wykonać wykończeniowe elementy z blachy (np. okładzinę szczytu lub obróbkę kosza na łączeniu dachu i ściany) i połączyć je z pokryciem.

Dodatkowe wytyczne dla dachówki romb 29 × 29

W przypadku każdego bocznego zagięcia dachówki romb 29 × 29 (wiatrownica i kołnierz) biegnące ukośnie do dołu rąbki muszą zostać wycięte na spodzie i wygięte.

  • Naszkicuj obszar zagięcia i 30 mm naddatku na rąbek
  • Przetnij dachówkę romb 29 × 29 wzdłuż naddatku na rąbek i wyprofiluj rąbek (rys. 1).
  • Zagnij utworzony rąbek i nadaj mu okrągły kształt (rys. 2).
  • Ułóż wyprofilowaną dachówkę romb 29 × 29 i zagnij brzeg do góry (rys. 3 i 4).

Fachowe wykonanie zapewnia szczelność dachu podczas opadów deszczu.

Po przygotowaniu dachówki romb 29 × 29 można wykonać wykończeniowe elementy z blachy (np. okładzinę szczytu lub obróbkę na łączeniu dachu i ściany) i połączyć je z pokryciem.

Dodatkowe wytyczne dla dachówki romb 44 × 44

W przypadku każdego bocznego zagięcia dachówki romb 44 × 44 (wiatrownica i kołnierz) biegnące ukośnie do dołu rąbki muszą zostać wycięte na spodzie i wygięte.

  • Naszkicuj obszar zagięcia i 30 mm naddatku na rąbek
  • Przetnij dachówkę romb 44 × 44 wzdłuż naddatku na rąbek i wyprofiluj rąbek (rys. 1).
  • Zagnij utworzony rąbek i nadaj mu okrągły kształt (rys. 2).
  • Ukośny rąbek systemowy na wierzchu, w strefie pionowej krawędzi, należy wyprofilować (rys. 3).
  • Ułóż wyprofilowaną dachówkę romb 44 × 44 i zagnij brzeg do góry (rys. 4).

Fachowe wykonanie zapewnia szczelność dachu podczas opadów deszczu.
Po przygotowaniu dachówki romb 29 × 29 można wykonać wykończeniowe elementy z blachy (np. okładzinę szczytu lub obróbkę na łączeniu dachu i ściany) i połączyć je z pokryciem.

Formowanie kosza dachowego

Wariant z rynną koszową

1 Dachówka klasyczna
2 membrana dachowa
3 zaczep

4 blacha koszowa
5 deska koszowa

Rynna koszowa jest elementem zalecanym przez PREFA.
Dekarz musi na podstawie własnego doświadczenia i wiedzy podjąć decyzję, czy zamontuje rynnę koszową. Rynna koszowa zapewnia większą odporność na spiętrzenie we wrażliwej strefie kosza niż zwykłe blachy koszowe.


Zalety rynny koszowej:

  • Odporność na spiętrzenia ze względu na dodatkową krawędź tylną
  • Prefabrykowany produkt PREFA
  • Dodatkowe krawędzie w strefie zakładki
  • Brak kapilarnego podciągania wody w strefie zakładki
  • Lepsza odporność na chodzenie, większa stabilność

Wariant z blachą koszową wykonaną ręcznie

1 Dachówka klasyczna
2 membrana dachowa
3 zaczep

4 blacha koszowa
5 deska koszowa

  • Złóż blachę koszową o długości maks. 3000 mm.
  • Po obu stronach zagnij boczny kapinos o szerokości 40 mm.
  • Szerokość wykroju zależy od kształtu i nachylenia dachu oraz sytuacji montażowej, ale musi wynosić co najmniej 500 mm.
  • Przy dużych różnicach odnoszących się do nachylenia dachu lub spływu wody należy zaprojektować pogłębiony kosz lub rąbek stojący w środku obróbki blaszanej kosza.

Łączenie rynny koszowej z pokryciem

  • Przy łączeniu z koszem dachowym układany element pokrycia PREFA należy przyciąć z naddatkiem ok. 35 mm wzdłuż naszkicowanej wcześniej linii (rys. 1 + 2).
  • Rąbek zaczepowy należy zagiąć wzdłuż zaznaczonej linii (rys. 3).
  • Ułożyć przygotowany element pokrycia PREFA (rys. 4).

Dodatkowe wytyczne dla dachówki klasycznej

Jako kierunek krycia zawsze wybierać kierunek do kosza. Zapobiegnie to odginaniu zakładek podczas zsuwania się śniegu i lodu.

  • Ustaw dachówkę, zaznacz wewnętrzną krawędź przeznaczoną na obrzeże kosza i przytnij dachówkę z naddatkiem około 35 mm (rys. 1).
  • Młotkiem spłaszcz trochę wypukły rowek w strefie wygiętej krawędzi i zegnij dachówkę pod spód o 180°. Następnie osadź dachówkę i zamocuj zaczepami (rys. 2 + 3).
  • Ponieważ przy wygiętej krawędzi dachówka została rozprostowana, po zamontowaniu pierwotną formę żłobka można łatwo przywrócić przy użyciu ściętego trzonka młotka. Zapobiegnie to wykrzywianiu się dachówki (rys. 4).

Dodatkowe wytyczne dla dachówki łupkowej i dachówki DS.19

Wskazówka

W przypadku dachówki łupkowej oraz dachówki DS.19 nie można dopuścić, aby po lewej stronie kosza wypadł punkt przecięcia.

Dachówka łupkowa

Jeśli punkt przecięcia kosza/styku dachówek zbiega się z lewą krawędzią kosza, należy wcześniej przygotować i zamontować dachówkę skróconą (1) lub dachówkę łupkową długą (1).

dachówka DS.19

Jeśli punkt przecięcia kosza/styku dachówek zbiega się z lewą krawędzią kosza, wówczas w przypadku dachówki DS.19 należy wcześniej zamontować dachówkę długą DS.19 (1).
Skrócenie dachówki DS.19 nie jest możliwe ze względu na rowki kapilarne.

Dodatkowe wytyczne dotyczące dachówki R.16 i panelu dachowego FX.12

  • Gdy punkt przecięcia kosz/styk pokrywa się, należy najpierw przygotować skrócony element danego pokrycia i go zamontować (rys. 1).
    Wskazówka: W przypadku blachy koszowej wykonanej ręcznie bezwzględnie należy wyeliminować punkt przecięcia.
  • Aby wyeliminować punkt przecięcia z pełnej sztuki dachówki R.16 lub panelu dachowego FX.12 przygotuj element skrócony (rys. 2 + 3).
    UWAGA: Wielkość elementu skróconego trzeba dobrać tak, aby nie uniemożliwiał on montażu stoperów śniegowych. Dokładność wykonania będzie wyraźnie widoczna po liniach stoperów śniegowych.

Wskazówka

W przypadku zastosowania rynny koszowej na łączeniu z koszem dopuszczalne jest również zbieganie się punktu przecięcia kosz/styk.

Formowanie naroża i kalenicy

Zależnie od budowy i funkcji dachu ten etap może być wykonywany na różne sposoby.

gąsior wentylowany

Gąsior wentylowany można zastosować przy dachach o nachyleniu 12–55°.
Oryginalny gąsior wentylowany posiada po obu stronach fartuch. Pokrycie dachu należy jednak podgiąć o 40 mm w celu zabezpieczenia przed przenikaniem wody podczas opadów.
Ostatni (w razie potrzeby przycięty) rząd dachówek przymocuj zaczepem zwrotnym bezpośrednio z boku grzbietu fali, która znajduje się poniżej (w przypadku dachówek klasycznych PREFA), lub bezpośrednio powyżej piankowego klina gąsiora wentylowanego.

montaż

  • Ostatni rząd musi być ułożony tak, aby powstała szczelina powietrzna o szerokości 80 mm. Elementy pokrycia dachowego PREFA unieś o ok. 40 mm do góry (rys. 1).
  • Między poszczególnymi gąsiorami wentylowanymi zachowaj szczeliny dylatacyjne o szerokości ok. 5 mm. Następnie oderwij ok. 50-milimetrowy odcinek folii ochronnej z samoprzylepnego klina uszczelniającego i zagnij ją na zewnątrz (rys. 2).
  • Na środku załóż obie złączki i przymocuj każdą z nich nitem PREFA Ø 4,1 mm jako punkt stały (rys. 3).
  • Klin uszczelniający z odsłoniętą wcześniej powierzchnią przyklej pod złączkami. Na koniec zerwij folię ochronną (rys. 4).
  • Gąsiory kalenicowe mocować wkrętami z uszczelnieniem PREFA (o dł. 60 mm) w odstępie ok. 600 mm (rys. 5).
    Informacja uzupełniająca:
    — W przypadku dachówki klasycznej zawsze umieszczać wkręt uszczelniający na wypukłości żłobka.
    — W przypadku dachówki łupkowej i dachówki romb wkręt nie powinien się znajdować na ukośnym rąbku zaczepowym.
    — W przypadku FX.12 i R.16 mocowanie nie powinno się znajdować na rąbku kątowym.
  • Propozycja montażu zaślepki do gąsiora wentylowanego (rys. 6).
    Porada: Najpierw w obszarze krawędzi zamontuj blachę osłonową, formując ok. 30 mm na wiatrownicę, a następnie załóż wiatrownicę.
  • Dopasuj położenie zaślepki do gąsiora wentylowanego i przymocuj ją nitem (rys. 7).
  • Przykład: Przycięcie naroża/kalenicy (rys. 8).

Wskazówka

Uważać, aby klin piankowy na całej długości przywierał do pokrycia dachu.

Wskazówka

W przypadku umieszczenia otworów wywiewnych po stronie kalenicy w jednopowłokowych konstrukcjach dachowych nie można całkowicie wykluczyć przedostawania się naniesionego śniegu.

Lukarna dwuspadowa

Łączenie między gąsiorem wentylowanym a koszem dachowym należy uszczelnić w taki sposób, aby woda opadowa nie mogła dostać się z głównej połaci dachu do gąsiora wentylowanego.

Wykończenie naroża i kalenicy przy użyciu pasków kalenicowych i narożnych

Warunkiem szczelności dachu przed śniegiem jest dociągnięcie elementów pokrycia PREFA w strefie naroża i kalenicy min. 40 mm do góry.
Jeśli ostatni rząd dachówek jest bardzo krótki, można wykonać także ciągły fartuch z blachy.

Porada: Aby zapewnić dokładność montażu, zaznacz środkowy punkt łaty kalenicowej sznurem traserskim.

Wskazówka

Wytnij w gąsiorze dachowym otwory dokładnie odpowiadające kształtowi żłobków lub rąbków.

1 śruba z uszczelnieniem

2 gwóźdź

1 śruba z uszczelnieniem
2 gwóźdź

3 Fartuch

Przykład wykończenia naroża/kalenicy

  • Natnij oba przebiegające po narożu gąsiory dachowe, aby po stronie trójkątnej połaci bocznej dachu czterospadowego nakładały się na około 10 mm, a następnie przymocuj do łat dachowych wkrętami (rys. 1).
  • Następnie wytnij połowę gąsiora dachowego tak, aby przykrywał on pierwszą linię przecięcia obu gąsiorów pod spodem. Aby dopasowanie górnego gąsiora było łatwiejsze, zewnętrzną część wykroju wyciąga się w sposób pokazany na ilustracji (rys. 2).
  • Gdy spreparowany w ten sposób gąsior dachowy zostanie przymocowany do łaty kalenicowej, można kontynuować układanie standardowych gąsiorów dachowych (rys. 3).

Dodatkowe wytyczne dla dachówki klasycznej

Jeśli w przypadku dachówki klasycznej montuje się fartuch ciągły, należy wyrównać położenie górnego obrzeża dachówki w taki sposób, aby można było wczepić wiatrownicę prostą.

  • Natnij obrzeże na szczycie żłobka i podnieś je za pomocą kowadełka dekarskiego (rys. 1 + 2).
  • Spłaszcz żłobek za pomocą młotka, aby powstał równomiernie otwarty rąbek. Na styku dachówek nacinanie nie jest konieczne (rys. 3).
  • Następnie można bez problemu wczepić fartuch (rys. 4).

Dodatkowe wytyczne dotyczące dachówki romb 29 × 29 i 44 × 44

Jeśli w przypadku dachówki romb  29 × 29 lub 44 × 44 montuje się fartuch ciągły, należy użyć dachówek końcowych dla rombu 29 × 29 lub 44 × 44. Tworzą one poziomy rąbek zaczepowy.

Pomiędzy dachówkami końcowymi dla rombu 29 × 29 należy zamontować dołączony element (1) maskujący.

Wykończenie kalenicy za pomocą rąbka zaczepowego

Po docięciu elementów pokrycia dachowego PREFA utworzyć rąbek zaczepowy.

Dodatkowe wytyczne dla dachówki klasycznej

Po docięciu dachówki klasycznej wykonaj zagięcie na żłobku środkowym, aby utworzyć rąbek zaczepowy. Zagięcie można wykonać cęgami do falcowania lub za pomocą żłobiarki.

Formowanie kalenicy za pomocą kalenicy prostej

Kalenicę prostą można zastosować, gdy odstęp pomiędzy pokryciem dachowym PREFA a wierzchołkiem kalenicy jest mniejszy niż 150 mm i nie jest wymagana wentylacja.

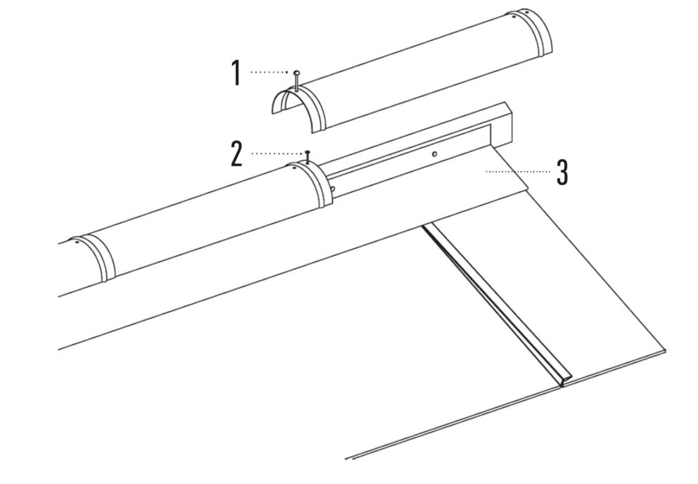
Formowanie występu dachu

Dachówka klasyczna

Formowanie odbywa się z dwóch pasów startowych.

1. Pas startowy do dachówki klasycznej

2. pas startowy żłobkowany

  • Przybij pierwszy pas startowy (1806 × 150 mm) w zwykły sposób.
  • Przybij drugi pas startowy (wersja żłobkowana) nad pierwszym rzędem dachówek na wysokości rąbka dachówek na głównej połaci dachu. Zależnie od projektu można nałożyć taśmę uszczelniającą, aby uzyskać szczelinę na rąbek zaczepowy znajdującej się powyżej dachówki klasycznej (rys. 1).
  • Następny rząd dachówek klasycznych można ułożyć już na całej szerokości (rys. 2).

Dachówka R.16 i panel dachowy FX.12

  • Zaznacz naddatek o szerokości 30 mm i dotnij dachówkę R.16/panel dachowy FX.12 (rys. 1).
  • Natnij górny rąbek ok. 200 mm i wyprofiluj (rys. 2).
  • Górny rąbek zaczepowy zagnij wzdłuż (rys. 3).
  • Zagnij naddatek o szerokości 30 mm i uformuj obróbkę szczytową (rys. 4).
  • Przy występie dachu zaznacz, o ile skrócić dachówkę R.16/panel dachowy FX.12, a następnie odpowiednio przytnij (rys. 5).
  • Ułóż przyciętą dachówkę R.16/przycięty panel dachowy FX.12 (rys. 6).
  • Połącz ze sobą obie dachówki R.16/oba panele dachowe FX.12 i zagnij rąbek w obszarze wpinania (rys. 7).
  • Z powrotem odegnij rąbek w obszarze wpinania i przymocuj go systemowym zaczepem mocującym (rys. 8).
  • Następny rząd dachówek R.16/paneli dachowych FX.12 można ułożyć już na całej szerokości (rys. 9).

Dachówka łupkowa i dachówka DS.19

  • Jeśli występ dachu wymusza ułożenie pierwszego rzędu ze skróconych dachówek łupkowych, należy odpowiednio skrócić dachówki łupkowe/dachówki DS.19 (rys. 1).
  • Następny rząd dachówek łupkowych można ułożyć już na całej szerokości (rys. 2).
  • Gotowe krycie występu dachu (rys. 3).

Dachówka romb 29 × 29 i dachówka romb 44 × 44

W przypadku wykonywania występów przy kryciu dachówką romb 29 × 29 lub 44 × 44 zazwyczaj należy przygotować dopasowaną blachę okapową. Wówczas bez problemów można rozpocząć od dachówki początkowej dla rombu 29 × 29 lub 44 × 44 (rys. 1A + 1B).

Wariant A: rąbek biegnący poziomo

Następny rząd dachówek romb można ułożyć już na całej szerokości (rys. 2A i 2B).

Wariant B: rąbek biegnący pionowo

Gotowy, ułożony występ dachowy (rys. 3A i 3B).

Łączenie z rynną leżącą (dachową)

Odchyl pas startowy 1806 × 150 mm wg rysunku (2 zagięcia).